Запасные части ЧТЗ Запасные части ЧТЗ
Ханты-Мансийск
Например:
Актобе
Алдан
или
Выбрать автоматически
Актобе
Алдан
Алматы
Алчевск
Архангельск
Астана
Астрахань
Атырау
Баку
Балашиха
Барнаул
Белгород
Бердянск
Бишкек
Владивосток
Владикавказ
Воркута
Воронеж
Горловка
Грозный
Донецк
Екатеринбург
Иваново
Ижевск
Иркутск
Казань
Калининград
Каменск-Уральский
Караганда
Каховка
Кемерово
Киров
Комсомольск-на-Амуре
Костанай
Краснодар
Красноярск
Красный луч
Ленск
Луганск
Магадан
Магнитогорск
Макеевка
Махачкала
Мелитополь
Минск
Мирный (Якутия)
Москва
Мурманск
Нерюнгри
Нижневартовск
Нижний Новгород
Нижний Тагил
Новая каховка
Новокузнецк
Новосибирск
Новый Уренгой
Норильск
Ноябрьск
Нур-Султан
Омск
Оренбург
Ош
Павлодар
Пермь
Петрозаводск
Петропавловск
Петропавловск-Камчатский
Псков
Ростов-на-Дону
Салехард
Самара
Санкт-Петербург
Саратов
Севастополь
Семей
Симферополь
Сочи
Ставрополь
Сургут
Сыктывкар
Тараз
Ташкент
Токмак
Томск
Тында
Тюмень
Ульяновск
Усинск
Усть-Каменогорск
Уфа
Хабаровск
Ханты-Мансийск
Херсон
Челябинск
Чита
Шымкент
Экибастуз
Энергодар
Южно-Сахалинск
Якутск
Ваш город
Ханты-Мансийск
Войти
Запасные части к тракторам на одном сайте
+7 (932) 303-00-10
+7 (932) 303-00-10
г. Ханты-Мансийск, ул. Объездная, д. 3
Пн-Пт: 9:30-18:30 Cб-Вс: Выходной
Отправить заявку


Ремонт ведущего колеса и лабиринтных уплотнений Т-170 Б-170 трактора в Ханты-Мансийске


/
с НДС 20%
Описание

На тракторе Т-170.01 применяется измененная, по сравнению с трактором Т-170.00, конструкция ведущего колеса с торцешлицевым креплением его болтами к ступице бортового редуктора.

Концевой подшипник, большое и малое лабиринтные уплотнения — такие же, как на тракторе Т-170.00.

Снятие ведущего колеса Т-170

Слив масла из бортового редуктора

Рис. 237. Слив масла из бортового редуктора

Слейте масло из картера бортового редуктора ( рис. 237 ). Разъедините гусеницу. Выверните четыре болта 10 ( см. рис. 301 ), крепления крышки пяты раскоса и снимите крышку 11.

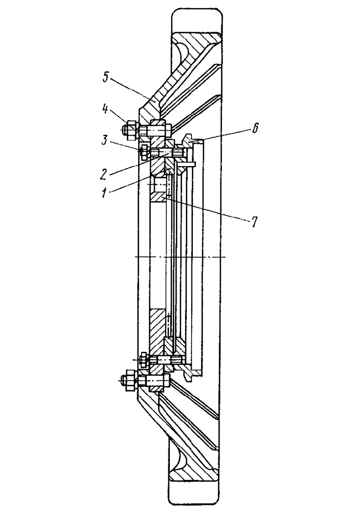
Подшипник концевой

Рис. 238. Подшипник концевой

Выверните четыре болта 1 ( рис. 238 ) крепления концевого подшипника.

Поднимите корпус 6 бортовых фрикционов и подставьте под него надежную опору. Выверните шесть болтов 2 крепления защитного щитка и снимите щиток 3. Выверните четыре болта 4 креплений крышки концевого подшипника и снимите крышку 5 с прокладками.

Ведущее колесо и лабиринтные уплотнения

Рис. 239. Ведущее колесо и лабиринтные уплотнения

Снимите с гайки 8 ( рис. 239 )стопор 5 и сверните гайку с полуоси 9.Снимите с полуоси фиксатор 7, регулировочные прокладки 10 и 12, концевой подшипник 13. Регулировочные прокладки свяжите в пакет и при сборке установите их на прежние места. Выверните десять болтов 15 крепления ведущего колеса 17.

Схема строповки ведущего колеса

Рис. 240. Схема строповки ведущего колеса

Застропите ведущее колесо ( рис. 240 ) и снимите его в сборе с лабиринтом. Масса ведущего колеса 170 кг.

Снятие большого и малого уплотнений Т-170

Выверните болты 1 ( см. рис. 239 ) крепления лабиринта 18 и снимите лабиринт. Снимите с кожуха большое уплотнение 21 и прокладку 20.

Расстопорите и отверните гайку 14 с полуоси. Снимите козырек 2 и втулку 27 в сборе с диском. Выньте съемником из ступицы диск 22 уплотнения, используя три технологических отверстия М8.

Диски уплотнений не разукомплектовывайте, так как они притерты друг другу.

Разборка ведущего колеса Т-170

Ведущее колесо трактора Т-170.01

Рис. 241. Ведущее колесо трактора Т-170.01

Отверните гайки 4 ( рис. 241 ) с болтов крепления венца 5 ведущего колеса. Снимите венец с фланца 7. Отверните гайки 3 со шпилек 2 крепления лабиринта 6 к фланцу и разъедините фланец, проставку 1 и лабиринт.

Разборка большого уплотнения Т-170

Сборка большого уплотнения

Рис. 242. Сборка большого уплотнения

Установите уплотнение в приспособление 1 ( рис. 242 ). Сожмите уплотнение и снимите проволоку 8 с манжеты. Разожмите приспособление и снимите диск 6, диск 7 с пальцами 9 и-сухариками 10, манжету 4. Выньте из фланца 2 десять пружин 5.

Разборка малого уплотнения Т-170

Уплотнение малое

Рис. 243. Уплотнение малое

Снимите с уплотнения диск 6 ( рис. 243 ). Сожмите уплотнение и снимите проволоку 4 с манжеты 3. Выпрессуйте два пальца 8 с сухарями 9 из втулки 1. Разожмите уплотнение и разъедините втулку с диском 5. Снимите с втулки пружину 2.

Технические требования

  1. Внутренний диаметр втулки концевого подшипника 90±0,087 мм, диаметр полуоси под втулку 90мм- Нормальный зазор, между полуосью и втулкой 0,036...0,210 мм, допустимый зазор 0,48 мм. Предельный зазор 1 мм.

  2. Уплотнения по гребенчатым поверхностям сопряжения должны быть проверены на герметичность дизельным топливом в течение 5 мин при силе поджатая 98 Н (10 кгс). Нарушение герметичности по уплотняющим поверхностям и течь топлива не допускаются.

  3. Диски уплотнений с гребенчатой поверхностью должны быть клеймены одним номером. Разукомплектовка дисков не допускается.

  4. Сухарики должны свободно, без заеданий поворачиваться на пальцах, запрессованных во втулку малого уплотнения и в диск большого уплотнения.

  5. Манжеты уплотнений не должны иметь порванных мест, трещин и других дефектов, влияющих на герметичность уплотнения.

Сборка малого уплотнения Т-170

Наденьте манжету 3 ( см. рис. 243 ) на втулку 1 й закрепите ее отожженной проволокой диаметром 1,6 мм, длиной 500 мм. Наденьте на втулку пружину 2. Проверьте маркировку комплектности уплотнительных дисков 5 и 6. Диски должны иметь одинаковый порядковый номер. Проверьте наличие штифта 7 в диске 5 и установите диск на втулку. Наденьте на два пальца 8 сухарики 9. Сожмите уплотнение приспособлением и запрессуйте пальцы с сухариками во втулку. После запрессовки сухарики должны свободно поворачиваться на пальцах. Разожмите уплотнение и установите сухарики в пазы. Наденьте манжету 3 на диск и закрепите ее проволокой. Установите диск 6 и свяжите уплотнение, чтобы не раскомплектовать диск 5 к 6.

Сборка большого уплотнения Т-170

Установите фланец 2 ( см. рис. 242 ) на приспособление А Наденьте на фланец манжету 4 и закрепите ее двумя витками отожженной проволоки 3 диаметром 1,6 мм. Вставьте в отверстия фланца десять пружин 5. Запрессуйте в отверстия диска 7 три пальца 9 с сухариками так, чтобы расстояние А между головкой пальца и поверхностью диска было 20±52 мм. Сухарики должны свободно вращаться на пальцах. Установите собранный диск на фланец так, чтобы пружины вошли, в отверстия диска, а сухарики в гнездо фланца. Проверьте маркировку комплектности уплотнительных дисков 6 и 7. Диски должны иметь одинаковый номер.

Установите диск 6 на диск 7 и сожмите уплотнение приспособлением. Наденьте манжету 4 и закрепите ее на диске двумя витками проволоки 8 диаметром 1,6 мм.

Сборка лабиринта Т-170

Сборка лабиринта

Рис. 244. Сборка лабиринта

Запрессуйте в лабиринт 1 (рис. 244) три штифта 3, выдержав размер А — (14±0,2) мм. Смажьте вворачиваемую резьбовую часть шпилек 2 железным густотертым суриком и вверните шесть шпилек в лабиринт. Момент затяжки шпилек 40...70 Н-м. (4...7 кгс-м.).

Сборка ведущего колеса Т-170

Наденьте на шпильки 2 ( см. рис. 241 ) лабиринта проставку 1, фаской на посадочном отверстии наружу. Установите на шпильки лабиринта фланец 7 и закрепите его гайками 3 с пружинными шайбами. Момент затяжки - гаек 40...60 Н-м (4...6 кгс-м). Установите венец 5 ведущего колеса на фланец и закрепите болтами с пружинными шайбами. Момент затяжки болтов 300...350 Н • м (30...35 кгс • м).

Сборка концевого подшипника Т-170

Запрессуйте в корпус 13 ( см. рис. 239 ) концевого подшипника втулку 4 и манжету 3. Выступание втулки над плоскостью корпуса подшипника не допускается. Утопление втулки допускается не более 0,5 мм.

Установка малого уплотнения Т-170

Установите на полуось 9 ( см. рис. 239 ) кольцо 23 и резиновое кольцо 24. Установите в шпоночный паз полуоси деревянную заглушку 25 до упора скоса заглушки в резиновое кольцо. Установите в паз полуоси шпонку 26 так, Чтобы она прижала заглушку к резиновому кольцу. Наденьте на диск 22 резиновое кольцо 28 и установите диск в ступицу так, чтобы штифт диска вошел в паз ступицы. Протрите и смажьте трущиеся поверхности дисков уплотнения тонким слоем трансмиссионного масла. Установите на полуось собранную с диском втулку 27, посадив ее на шпонку 26 и заглушку 25 до упора в диск 22. Установите на полуось козырек 2 так, чтобы выступы козырька вошли в пазы втулки 27 уплотнения. Наверните на полуось гайку 14 и затяните ее специальным ключом. Момент затяжки гайки 500...700 Н-м (50...70 кгс-см). Доверните гайку до совпадения усиков козырька с пазами гайки и отогните усики в пазы гайки.

Установка большого уплотнения. Установите на штифты ( см. рис. 239 ) кожуха бортового редуктора прокладку 20 и собранное уплотнение 21. Установите На фланец уплотнения лабиринт 18, совместив отверстия.со штифтами, и закрепите лабиринт болтами 1 с пружинными шайбами. Момент затяжки болтов 17...25 Н-м (1,7...2,5 кгс-м). Проверьте кольцо 16 и смажьте его трансмиссионным маслом.

Протрите и смажьте тонким слоем трансмиссионного масла рабочие поверхности дисков уплотнения. Наденьте на ступицу диск 19.

Установка ведущего колеса Т-170

Наденьте на ступицу уплотнительное резиновое кольцо 16. Вверните две технологических шпильки в ступицу в отверстия под болты 15.

Застопорите ведущее колесо ( см. рис. 240 ) и установите его на ступицу так, чтобы штифты лабиринта вошли в отверстия диска уплотнения ( см, рис. 239 ). Выверните технологические шпильки- из ступицы и закрепите ведущее колесо болтами 15 с пружинными шайбами. Момент затяжки болтов 500...700 Н-М (50...70 кгс-м).

Установка концевого подшипника Т-170

Установите концевой подшипник 13 на цилиндрическую поверхность полуоси 9. Установите на полуось прокладки 10 и фиксатор 7, совместив вырезы прокладок с прорезью на полуоси. Наверните на конец полуоси гайку 8 и затяните ее моментом 500 700 Н-м (50...70 кгс-м). Наденьте на гайку стопор 5 так, чтобы штифт его вошел в отверстие фиксатора. Если штифт и отверстие не совпадают, дотяните гайку. Установите на крышку 6 прокладки 12 и картонные прокладки 11, заполните полость крышки солидолом С и установите ее на концевой подшипник. Закрепите крышку 6 четырьмя болтами с пружинными шайбами Момент затяжки болт тов 28...42 Н-м (2,8...4,2 кгс-м). Прокладки 10 (не более 5) и 12 (не более 2) устанавливать для регулировки зазора (не менее 4 мм) между торцами обода ведущего колеса и внутренними торцами беговых дорожек опорного катка.

Ведущее колесо трактора Т-170.00 Т-170

Ведущее колесо трактора Т-170.00

Рис. 245. Ведущее колесо трактора Т-170.00

Лабиринт в сборе ( см. рис. 244 ) устанавливается непосредственно на ведущее колесо 3 ( рис. 245 ) и закрепляется на шпильках лабиринта 2 гайками 1 с пружинными шайбами. Момент затяжки гаек 40...60 Н • м (4...6 кгс • м).

Ведущее колесо и концевой подшипник

Рис. 246. Ведущее колесо и концевой подшипник

Ведущее колесо 3 ( рис. 246 ) закрепляется на шпильках 2 ступицы гайками 1 с разрезными конусными шайбами. Момент затяжки шпилек 2 в ступицу 300...400 Н-м (30...40 кгс-м). Момент затяжки гаек 1 на шпильках 500...700Н-м (50...70 кгс-м).

Ремонт ведущего колеса и лабиринтных уплотнений