Запасные части ЧТЗ Запасные части ЧТЗ
Ханты-Мансийск
Например:
Актобе
Алдан
или
Выбрать автоматически
Актобе
Алдан
Алматы
Алчевск
Архангельск
Астана
Астрахань
Атырау
Баку
Балашиха
Барнаул
Белгород
Бердянск
Бишкек
Владивосток
Владикавказ
Воркута
Воронеж
Горловка
Грозный
Донецк
Екатеринбург
Иваново
Ижевск
Иркутск
Казань
Калининград
Каменск-Уральский
Караганда
Каховка
Кемерово
Киров
Комсомольск-на-Амуре
Костанай
Краснодар
Красноярск
Красный луч
Ленск
Луганск
Магадан
Магнитогорск
Макеевка
Махачкала
Мелитополь
Минск
Мирный (Якутия)
Москва
Мурманск
Нерюнгри
Нижневартовск
Нижний Новгород
Нижний Тагил
Новая каховка
Новокузнецк
Новосибирск
Новый Уренгой
Норильск
Ноябрьск
Нур-Султан
Омск
Оренбург
Ош
Павлодар
Пермь
Петрозаводск
Петропавловск
Петропавловск-Камчатский
Псков
Ростов-на-Дону
Салехард
Самара
Санкт-Петербург
Саратов
Севастополь
Семей
Симферополь
Сочи
Ставрополь
Сургут
Сыктывкар
Тараз
Ташкент
Токмак
Томск
Тында
Тюмень
Ульяновск
Усинск
Усть-Каменогорск
Уфа
Хабаровск
Ханты-Мансийск
Херсон
Челябинск
Чита
Шымкент
Экибастуз
Энергодар
Южно-Сахалинск
Якутск
Ваш город
Ханты-Мансийск
Войти
Запасные части к тракторам на одном сайте
+7 (932) 303-00-10
+7 (932) 303-00-10
г. Ханты-Мансийск, ул. Объездная, д. 3
Пн-Пт: 9:30-18:30 Cб-Вс: Выходной
Отправить заявку


Ремонт масляного насоса коробки передач Т-170 Б-170 трактора в Ханты-Мансийске


/
с НДС 20%
Описание

Снятие масляного насоса коробки передач Т-170

Слейте масло из коробки передач. Отсоедините отводящий маслопровод.

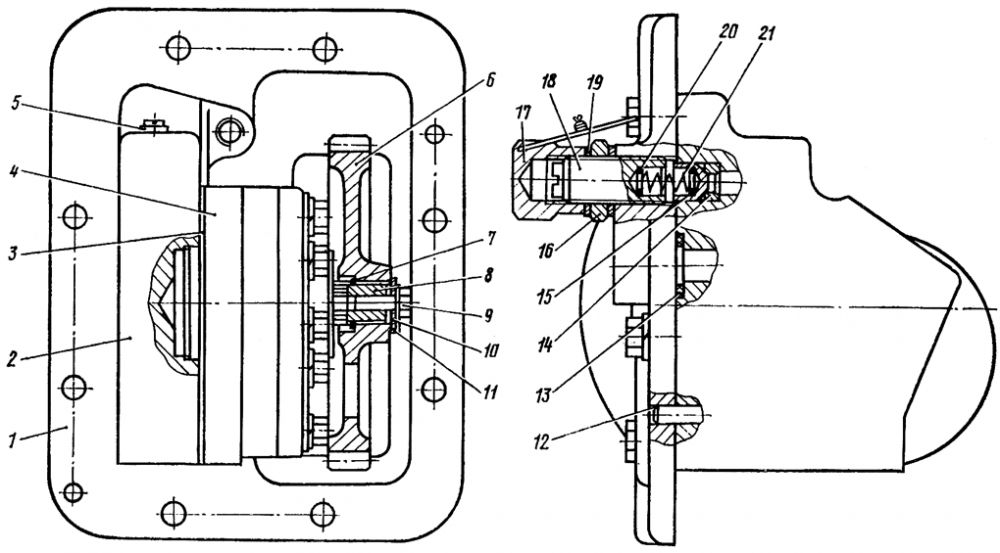
Фланец масляного насоса

Рис. 214. Фланец масляного насоса

Отверните восемь болтов крепления фланца 2 ( рис. 214 ) масляного насоса к корпусу коробки передач и выньте масляный насос вместе с маслоприемником из корпуса. Отверните болты, крепящие маслоприемник, и снимите его.

Разборка масляного насоса коробки передач Т-170

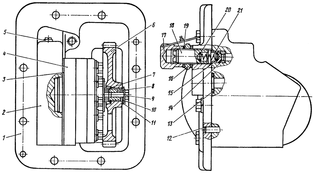
Насос масляным с фланцем

Рис. 215. Насос масляным с фланцем
Отверните глухую гайку 17 ( рис. 215 ) со стержня клапана, контргайку 16 и стержень 18 из фланца 1. Извлеките из отверстия корпуса 2 пружину 21, шайбу-20-и клапан 15. Выверните восемь болтов крепления фланца 1 к корпусу 2 и снимите фланец.

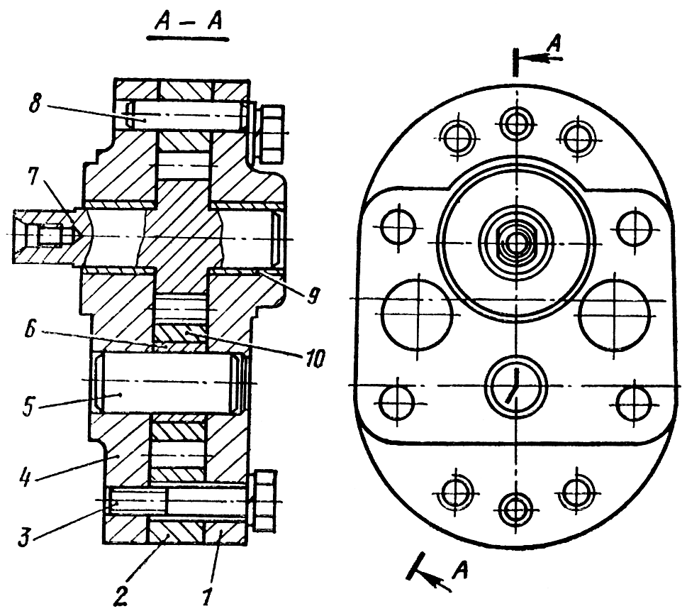
Расстопорите, выверните болт 9 из вала насоса и снимите шестерню 6 с вала 8. Снимите упорное кольцо 7. Выверните болты крепления корпуса 2 к насосу 4 и снимите корпус. Выверните четыре болта 3 ( рис. 216 ) крепления крышек насоса и разъедините крышки 1 и 4 с корпусом. Отметьте взаимное положение шестерни 10 и крышки 1 для того, чтобы при сборке установить в прежнее положение. Снимите шестерни. Выпрессуйте ось 5 ведомой шестерни из нижней крышки 1. Выпрессуйте, при необходимости, ступенчатой оправкой втулки 6 и 9.

Технические требования на масляный насос коробки передач

  1. Не собирайте насос, ударяя по корпусу шестерен.

  2. Детали насоса не раскомплектовывайте.

  3. Торцы ведомой и ведущей шестерен не должны утопать в корпусе шестерен более 0,16 мм. Диаметральный зазор между корпусом шестерен и вершиной зуба должен быть не более 0,15 мм. Заклинивание и заедание шестерен при проворачивании не допускается.

  4. Редукционный клапан должен быть притерт к гнезду 14 ( см. рис. 215 ) корпуса насоса. После притирки на торцовой поверхности клапана должна быть кольцевая матовая полоса.

  5. Валик собранного насоса до заполнения его маслом должен легко и свободно, без заеданий, проворачиваться от усилия руки при вращении за шестерню привода.

Сборка масляного насоса коробки передач Т-170

Насос масляный

Рис. 216. Насос масляный

Запрессуйте в нижнюю крышку 4 ( см. рис. 216 ) ось 5 ведомой шестерни 10 и наденьте на ось 5 шестерню 10 с втулкой 6. Установите ведущую шестерню 7 во втулку 9 нижней крышки 4 шлицевым валом наружу. Накройте шестерни корпусом насоса 2, а затем верхней крышкой 1 и запрессуйте два штифта 8 в корпус. Соедините узел болтами 3 с пружинными шайбами, вверните их со стороны верхней крышки 1.

Положите на корпус 2 ( см. рис. 215 ) прокладку 3 и установите в отверстие корпуса насос 4 на штифты 12. Закрепите насос на корпусе болтами с шайбами. Установите упорное кольцо 7 в канавку валика 8 насоса и посадите на валик насоса последовательно шестерню 6, шайбу 10, стопорную шайбу 11 и вверните болт 9 в валик. Болт зафиксируйте стопорной шайбой 11. Вставьте в отверстие корпуса 2 кольцо 13 и установите на корпус фланец 1.

Закрепите фланец болтами с медными шайбами. Установите в отверстие корпуса 2 клапан 15. Установите последовательно шайбу, пружину 21, шайбу 20. Вверните в отверстие фланца стержень 18 с гайкой 16 и прокладками 19. Вверните пробку 5.

Отрегулируйте насос на стенде на давление 750...850 кПа (7,5...8,5 кгс/см²) вращением стержня 18. При давлении в системе 500 кПа (5 кгс/см²) и частоте вращения вала насоса 1050 мин-1 производительность насоса должна быть не менее 22 л/мин.

По окончании регулирования стержень 18 законтрите гайкой 16 и наверните на него глухую гайку 17. Гайку застопорите проволокой.

Испытывайте насос на масле И-12А, подогретом до (300±10) К [ (30±10) °С], или моторном масле М8В, подогретом до 323...343 К (50...70 °С).

Установка масляного насоса коробки передач Т-170

Присоедините к насосу маслоприемник 4 ( см. рис. 214 ). Смажьте прокладку лаком «Герметик», положите ее на фланец, вставьте насос в люк корпуса 1 коробки передач на штифты 3 и прикрепите насос за фланец к корпусу. Присоедините отводящий маслопровод.

Ремонт масляного насоса коробки передач