Запасные части ЧТЗ Запасные части ЧТЗ
Ханты-Мансийск
Например:
Актобе
Алдан
или
Выбрать автоматически
Актобе
Алдан
Алматы
Алчевск
Архангельск
Астана
Астрахань
Атырау
Баку
Балашиха
Барнаул
Белгород
Бердянск
Бишкек
Владивосток
Владикавказ
Воркута
Воронеж
Горловка
Грозный
Донецк
Екатеринбург
Иваново
Ижевск
Иркутск
Казань
Калининград
Каменск-Уральский
Караганда
Каховка
Кемерово
Киров
Комсомольск-на-Амуре
Костанай
Краснодар
Красноярск
Красный луч
Ленск
Луганск
Магадан
Магнитогорск
Макеевка
Махачкала
Мелитополь
Минск
Мирный (Якутия)
Москва
Мурманск
Нерюнгри
Нижневартовск
Нижний Новгород
Нижний Тагил
Новая каховка
Новокузнецк
Новосибирск
Новый Уренгой
Норильск
Ноябрьск
Нур-Султан
Омск
Оренбург
Ош
Павлодар
Пермь
Петрозаводск
Петропавловск
Петропавловск-Камчатский
Псков
Ростов-на-Дону
Салехард
Самара
Санкт-Петербург
Саратов
Севастополь
Семей
Симферополь
Сочи
Ставрополь
Сургут
Сыктывкар
Тараз
Ташкент
Токмак
Томск
Тында
Тюмень
Ульяновск
Усинск
Усть-Каменогорск
Уфа
Хабаровск
Ханты-Мансийск
Херсон
Челябинск
Чита
Шымкент
Экибастуз
Энергодар
Южно-Сахалинск
Якутск
Ваш город
Ханты-Мансийск
Войти
Запасные части к тракторам на одном сайте
+7 (932) 303-00-10
+7 (932) 303-00-10
г. Ханты-Мансийск, ул. Объездная, д. 3
Пн-Пт: 9:30-18:30 Cб-Вс: Выходной
Отправить заявку


Ремонт гидробаков Т-170 Б-170 трактора в Ханты-Мансийске


/
с НДС 20%
Описание

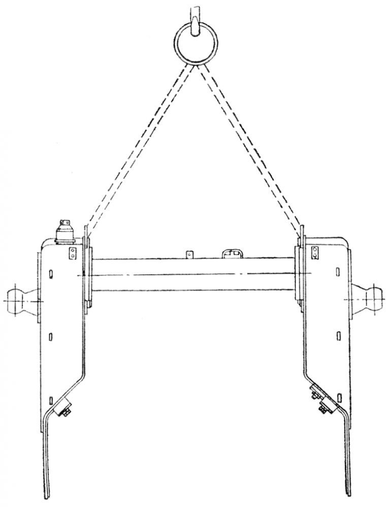
Снятие гидробаков Т-170

Снятие гпдробаков

Рис. 316. Снятие гпдробаков

Отверните болты решетки 4 ( рис. 316 ) радиаторов и откройте ее. Опустите поддон. Поднимите переднюю крышу 3 капота на шарнирах и отсоедините упор от крыши. Снимите радиаторы. Отсоедините электропровода от фар, водяного радиатора и от задней крыши капота. Снимите заднюю крышу 2 капота. Закройте кран на левом гидробаке и отсоедините патрубки, подводящие масло к гидронасосу НШ 100А-ЗЛ. Закройте кран на правом гидробаке и отсоедините трубы, подводящие масло к гидронасосу НШ 32 У-Л. Отверните гайки с болтов, стягивающие хомуты на резиновом шланге, и отсоедините трубу от патрубка переходной трубы гидробаков.

Отсоедините гибкие шланги 1 от- гидроцилиндров. Снимите гидроцилиндры 7 с цапф гидробаков.

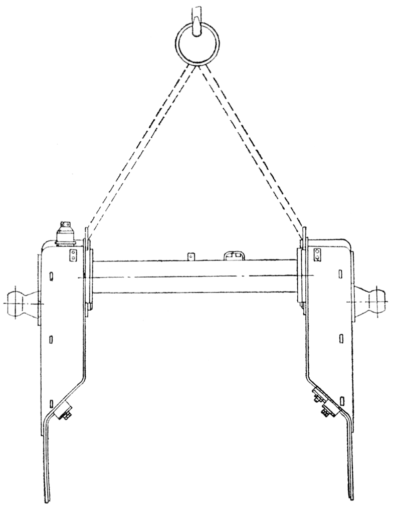
Схема строповки гидробаков

Рис. 317. Схема строповки гидробаков

Присоедините гидробаки стропами к подъемнику ( рис. 317 ). Отверните шестнадцать болтов крепления гидробаков к лонжеронам. Приподнимите гидробаки и, выводя перепускную трубу из лонжеронов, снимите их.

Установка гидробаков Т-170

Присоедините гидробаки 5 ( см. рис. 316 ) к подъемнику и осторожно опустите на лонжероны трактора. Закрепите гидробаки 5 на лонжеронах шестнадцатью болтами 6 с пружинными шайбами. Присоедините маслоподводящие патрубки к крану левого гидробака и гидронасосу НШ 100А-ЗЛ и откройте кран. Присоедините маслоподводящие трубы к крану правого гидробака и гидронасосу НШ 32 У-Л. Откройте кран.

Установите радиаторы. Закройте решетку 4 радиаторов и закрепите ее тремя болтами с плоскими и пружинными шайбами. Установите заднюю крышу капота. Уложите и закрепите электропровода к фарам, водяному радиатору, задней крыше. Прикрепите двумя болтами упор к передней крыше капота. Закройте переднюю крышу и закрепите двумя защелками. Установите гидроцилиндры на цапфы, присоедините гибкие шланги 1.

Ремонт гидробаков