Запасные части ЧТЗ Запасные части ЧТЗ
Ханты-Мансийск
Например:
Актобе
Алдан
или
Выбрать автоматически
Актобе
Алдан
Алматы
Алчевск
Архангельск
Астана
Астрахань
Атырау
Баку
Балашиха
Барнаул
Белгород
Бердянск
Бишкек
Владивосток
Владикавказ
Воркута
Воронеж
Горловка
Грозный
Донецк
Екатеринбург
Иваново
Ижевск
Иркутск
Казань
Калининград
Каменск-Уральский
Караганда
Каховка
Кемерово
Киров
Комсомольск-на-Амуре
Костанай
Краснодар
Красноярск
Красный луч
Ленск
Луганск
Магадан
Магнитогорск
Макеевка
Махачкала
Мелитополь
Минск
Мирный (Якутия)
Москва
Мурманск
Нерюнгри
Нижневартовск
Нижний Новгород
Нижний Тагил
Новая каховка
Новокузнецк
Новосибирск
Новый Уренгой
Норильск
Ноябрьск
Нур-Султан
Омск
Оренбург
Ош
Павлодар
Пермь
Петрозаводск
Петропавловск
Петропавловск-Камчатский
Псков
Ростов-на-Дону
Салехард
Самара
Санкт-Петербург
Саратов
Севастополь
Семей
Симферополь
Сочи
Ставрополь
Сургут
Сыктывкар
Тараз
Ташкент
Токмак
Томск
Тында
Тюмень
Ульяновск
Усинск
Усть-Каменогорск
Уфа
Хабаровск
Ханты-Мансийск
Херсон
Челябинск
Чита
Шымкент
Экибастуз
Энергодар
Южно-Сахалинск
Якутск
Ваш город
Ханты-Мансийск
Войти
Запасные части к тракторам на одном сайте
+7 (932) 303-00-10
+7 (932) 303-00-10
г. Ханты-Мансийск, ул. Объездная, д. 3
Пн-Пт: 9:30-18:30 Cб-Вс: Выходной
Отправить заявку


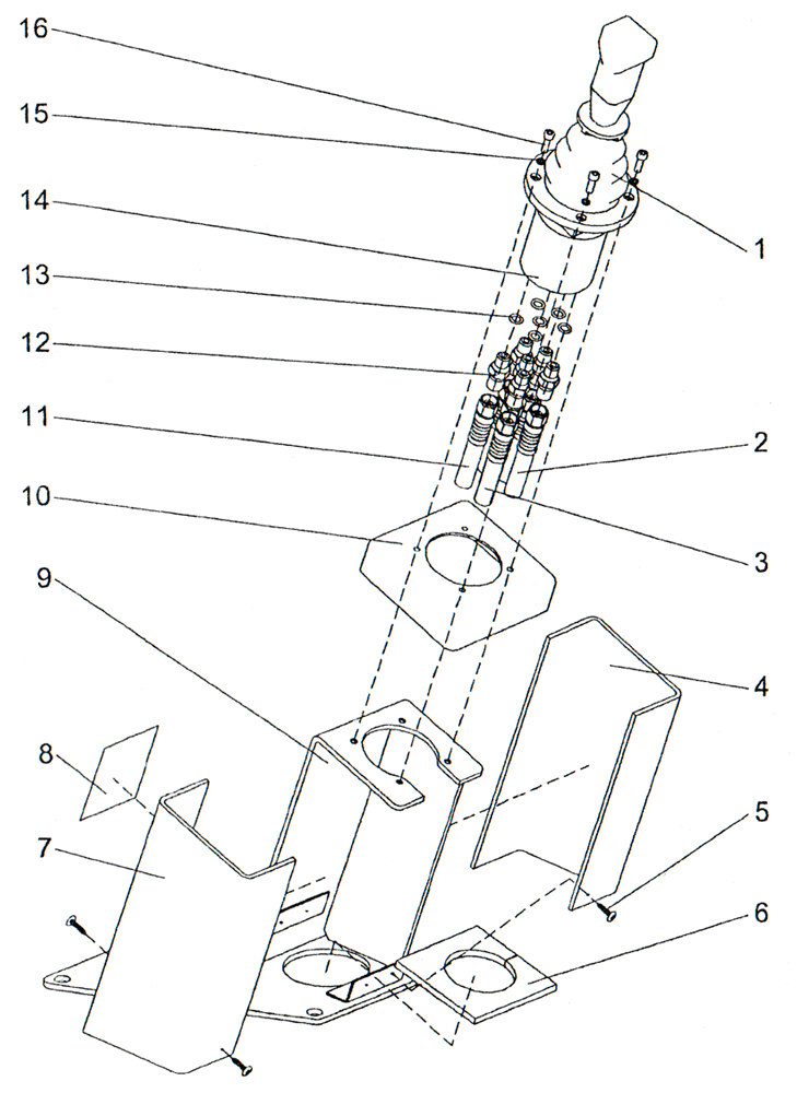
Блок управления ПК46


/
с НДС 20%
Описание
ПК46.13.09.000 Блок управления ПК46
Поз. Обозначение Наименование Кол. Масса
1 Блок управления 100ВНМ ТУ 4144-001-00239882-2003 1 7,6
2 РВД 6.84.1350.0,1-11-90°/11.
М16×1,5/М16×1,5-У1 ТУ 3148-001 -20871731-94
1 0,7
3 РВД 6.84.1800.0,1.11-90711.
М16×1,5/М16×1,5-У1 ТУ 3148-001-20871731-94
1 0,9
4 ПК46.13.09.006 Короб 1 0,43
5 Саморез 4,2x19 черный 10 0,001
6 ПК46.13.09.008 Прокладка 1 0,11
7 ПК46.13.09.006-01 Короб 1 0,43
8 027.66.04.008 Табличка 1 0,002
9 ПК46.13.09.010 Пулы 1 6,7
10 ПК46.13.09.007 Крышка 1 0,11
11 РВД 6.84.2600.0,1.11-90711.
М16×1,5/М16×1,5-У1 ТУ-3148-001-20871731-94
4 1,23
12 027.05.01.063 Штуцер 6 0,052
13 Кольцо 011-014-19-2-2 ГОСТ 18829-73 / ГОСТ 9833-73 6 0,001
14 027.66.04.007 Табличка 1 0,002
15 Шайба 6.65Г.019 ГОСТ 6402-70 4 0,001
16 Винт М6-6g×20.36.019 ГОСТ 11738-84 4 0,005
Общий вес, кг 18,2
Блок управления